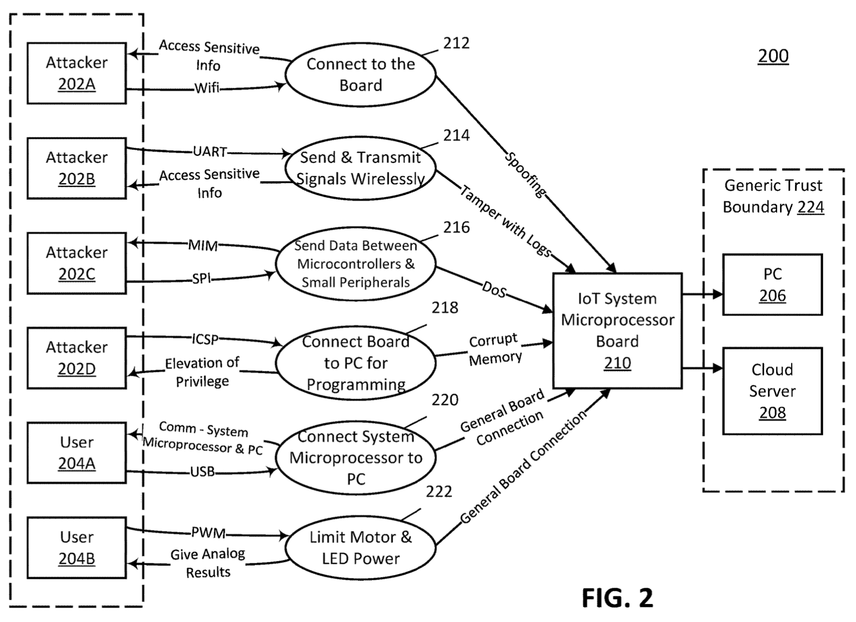
SPLICE team members from Morgan State University were recently issued a patent (US 12,399,994 B2) for their work on an intrusion detection system for IoT platforms. Their invention provides a scalable and efficient framework to classify cyber-physical attacks on IoT devices with various storage and processing capabilities.
A novel packet-capture parsing tool was developed to extract meaningful patterns from captures of raw data packets. Additionally, an ensemble machine-learning based intrusion detection system was built as a countermeasure to minimize the threat surfaces between the IoT cloud platform and edge devices.
Those interested in this work are encouraged to contact the inventors. Interested in learning about other SPLICE research? Check out our Zotero page for a full list of SPLICE publications.

Kornegay, Kevin, and Otily Toutsop. Ensemble Intrusion Detection System for IOT Platforms. US12399994B2, 26 Aug. 2025, https://patents.google.com/patent/US12399994B2/en?oq=US+12%2c399%2c994+B2.







Leave a comment